全国2008年7月高等教育自学考试工程制图试题
《自考视频课程》名师讲解,轻松易懂,助您轻松上岸!低至199元/科!
全国2008年7月高等教育自学考试工程制图试题
课程代码:02151
一、点线面作图题(保留作图线)(本大题共3小题,其中第1小题3分、第2小题3分,第3小题6分,共12分)
1.求作与ox轴成45°夹角的铅垂面的水平投影.
2.求作1/4圆球面上A点的正面投影和水平投影.
3.在平面ABC内求作直线KL.KL与AC平行,K点距A、C点均为30mm,L在BC线上.
二、截交线作图题(10分)
4.已知立体的主视图和俯视图,画出左视图中截交线及缺漏轮廓线的投影.
三、相贯线作图题(10分)
5.已知立体的主视图和左视图,补画俯视图中相贯线及缺漏轮廓线的投影.
四、组合体作图题(本大题共两小题,其中第6小题6分,第7小题12分,共18分)
6.已知立体的主视图和左视图,画全俯视图.
7.已知立体的主视图和俯视图,求左视图.(虚线不能省略).
五、组合体尺寸标注题(12分)
8.标注组合体的尺寸,尺寸数值按1:1在图中量取后取整数.
六、轴测图作图题(5分)
9.根据给定的主视图和俯视图,画全立体的正等轴测图.
七、表达方法作图题(10分)
10.根据给出物体的主视图和俯视图,在中间空白线框内画出A-A半剖视图.
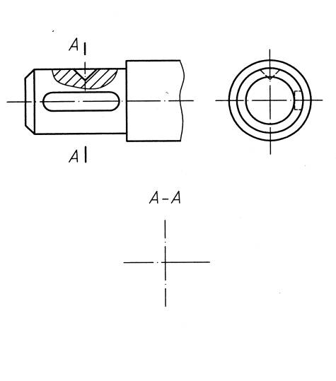
八、剖面图作图题(5分)
11.根据给定的主视图和左视图,在指定位置画出A-A剖面图.
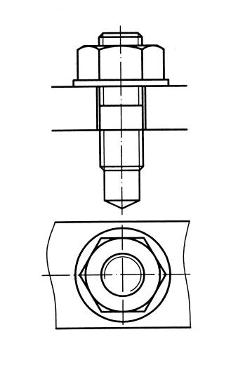
九、标准件和常用件作图题(8分)
12.补画双头螺柱连接图主视图中的螺孔和剖面线.
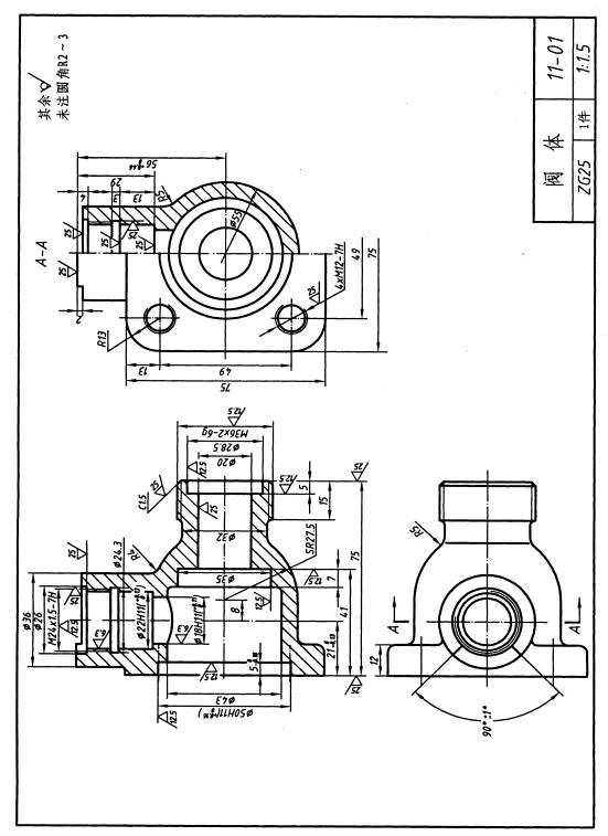
十、读零件图题(本大题共10小题,每小题1分,共10分)
看懂阀体零件图,回答下列问题:
(13) 该零件在四类典型零件中属于__________ 类零件.
(14) 零件左端法兰上共有__________个螺孔.
(15) 零件右边的外螺纹尺寸为__________.
(16) 零件的材料是__________.
(17) 有公差要求的尺寸:有__________个.
(18) 未注圆角的尺寸是:__________.
(19) 阀体上端的螺孔是粗牙螺纹还是细牙螺纹:__________.
(20) 左端面的表面粗糙度代号中的Ra值是:__________.
(21)
50H11尺寸的上偏差是:__________.
(22)
50H11尺寸的下偏差是:__________.
本文标签:河南自考 历年真题 全国2008年7月高等教育自学考试工程制图试题
转载请注明:文章转载自(http://www.hazikao.net)
《河南自考网》免责声明:
1、由于各方面情况的调整与变化,本网提供的考试信息仅供参考,考试信息以省考试院及院校官方发布的信息为准。
2、本网信息来源为其他媒体的稿件转载,免费转载出于非商业性学习目的,版权归原作者所有,如有内容与版权问题等请与本站联系。联系邮箱:812379481@qq.com。









